
ropbot: Reimaging Code Reuse Attack Synthesis
Kyle Zeng† , Moritz Schloegel‡ , Christopher Salls§ Adam Doupé† , Ruoyu Wang† , Yan Shoshitaishvili† , Tiffany Bao†
†Arizona State University, ‡CISPA Helmholtz Center for Information Security, §UC Santa Barbara † {zengyhkyle, doupe, fishw, yans, tbao}@asu.edu, ‡ schloegel@cispa.de, § salls@ucsb.edu
Abstract—Code reuse attacks are one of the most crucial cornerstones of modern memory corruption-based attacks. However, the task of stitching gadgets together remains a time-consuming and manual process. Plenty of research has been published over the past decade that aims at automating this problem, but very little has been adopted in practice. Solutions are often impractical in terms of performance or supported architectures, or they fail to generate a valid chain. A systematic analysis reveals they all use a generate-and-test approach, where they first enumerate all gadgets and then use symbolic execution or SMT solvers to reason about which gadgets to combine into a chain. Unfortunately, this approach scales exponentially to the number of available gadgets, thus limiting scalability on larger binaries.
In this work, we revisit this fundamental strategy and propose a new grouping of gadgets, which we call ROPBlock, that exhibit one crucial difference to gadgets: ROPBlocks are guaranteed to be chainable. We combine this notion of ROPBlock with a graph search algorithm and propose a gadget chaining approach that significantly improves performance compared to prior work. We successfully reduce the time complexity of setting registers to attacker-specified values from O(2n ) to O(n). This yields a 2–3 orders of magnitude speed-up in practice during chain generation. At the same time, ROPBlocks allow us to model complex gadgets—such as those involving ret2csu or with conditional branches—that most other approaches fail to consider by design. And as ROPBlocks are architecture-agnostic, our approach can be applied to diverse architectures.
Our prototype, ropbot, generates complex, real-world chains invoking dup-dup-execve within 2.5s on average for all 37 binaries in our evaluation. All but one other approach fails to generate any chain for this scenario. For mmap chains, a difficult scenario that requires setting six register values, ropbot finds chains for 5x more targets than the second-best technique. To show its versatility, we evaluate ropbot on x64, MIPS, ARM, and AArch64. We added RISC-V support in less than two hours by adding twelve lines of code. Finally, we demonstrate that ropbot outperforms all existing tools on their respective datasets.
I. INTRODUCTION
Code Reuse (CR) attacks, such as Return-Oriented Programming (ROP) [1] or Jump-Oriented Programming (JOP) [2], are exploitation techniques that can turn a control-flow hijacking primitive into arbitrary code execution. Despite the presence of advanced protections, such as Address Space Layout Randomization (ASLR), Position-Independent Executable (PIE), Control-Flow Integrity (CFI), and others, CR attacks remain highly relevant and are becoming increasingly more powerful with fewer requirements on the target programs. For example, researchers have demonstrated ways to perform code reuse attacks without the need for ret instructions [2]–[4], and attackers can inject executable code into the target process and utilize on-the-fly gadgets [5].
However, synthesizing CR attacks is not only for malicious exploitation: it is a vital approach in the defender's arsenal to confirm exploitability, which is critical in prioritizing fixing severe bugs. At the time of writing, 52 out of 70 exploits accepted by Google's KernelCTF Vulnerability Rewards Program [6] use CR attacks to perform privilege escalation in the Linux kernel to demonstrate the exploitability of the reported vulnerabilities. Despite widespread use by both malicious and benign actors, constructing a CR payload (called a chain) is non-trivial, manual, and notoriously time-consuming. This unnecessarily delays the process of exploitability verification and requires domain experts. Hence, research has proposed to automate the task of generating CR chains. Attempts to solve this problem started with Q [7] and have seen much follow-up research, resulting in JIT-ROP [5], LIMBO [8], SGC [9], RiscyROP [10], Crackers [11], Arcanist [12] and more. Surprisingly, no approach has achieved widespread adoption in practice, and the problem of CR payload synthesis remains.
When carefully studying the underlying techniques of these tools, we find that all existing works rely on a generateand-test (GAT) [13] scheme: given a target goal (e.g., set registers rax and rbx to attacker-specified values), they first generate a list of gadgets that can potentially achieve the goal and then use a heavyweight approach, e.g., symbolic execution or SMT solvers, to verify whether the list of gadgets can be chained and achieve the desired goal. This algorithm results in a time complexity of O(2n), where n is the number of gadgets. Thus, it does not scale well with large binaries that have a large number of gadgets. As a balance between capability and speed, most existing works [9]–[12] decide to solve a sub-problem instead: they aim to find a chain that uses gadgets up to a maximum number (N). We call this approach bounded generate-and-test (BGAT). This algorithm has a time complexity of O(n N ), which leads to the dilemma of choosing N. If N is too large, the algorithm will face state explosion; if N is too small, the tool cannot find useful chains. Despite known issues, the GAT scheme is still being used because techniques must (1) ensure all selected gadgets are chainable and (2) ensure that their effects do not conflict with each other but satisfy the attacker's goal.
With this observation in mind, we revisit the CR chain generation problem from a different perspective: what if we could group gadgets together in a way that guarantees chainability? Such a grouping bypasses chainability issues, and we can focus on finding groups that can satisfy the attack goal.
In this work, we present such a novel abstraction of gadgets that we call ROPBlock: a grouping of gadgets that guarantees chainability between ROPBlocks. This layer of abstraction reduces the classic CR chain generation task, namely register setting, into an O(n) graph search problem. In practice, it proves to be 2–3 orders of magnitude faster than the GAT approach widely used by all existing works [8]–[12], as demonstrated in our large-scale evaluation. In addition to performance improvements, working on the intermediate layer of ROPBlocks allows us to model complex gadget types, such as gadgets with conditional branches, ret2csu [14] gadgets, or GOT gadgets [15]. This significantly enhances the capabilities and real-world relevance of our technique. The concept of ROPBlock is architecture-agnostic (as is our algorithm to search for chains), which allows our approach to be applied to many architectures.
Based on our ROPBlock abstraction, we implemented a research prototype named ropbot that can generate CR chains in an architecture-agnostic manner. It is the first approach to support x86, x64, MIPS, ARM, AArch64, and RISC-V for both little-endian and big-endian. Our evaluation shows that even on x64, an architecture that has been extensively tested in the past, ropbot outperforms the state-of-the-art significantly for every CR chain generation task on the datasets proposed by prior work. For the task of generating execve chains, ropbot achieves a success rate of 89.7%, compared to 33.1% of the second-best technique, exrop. When trying to invoke mmap, which requires setting six arguments, ropbot finds CR chains for 5x targets compared to the second-best technique.
Beyond these evaluations, ropbot is ready for real-world use and can generate complex CR chains. For example, it can generate chains that invoke three function calls (dupdup-execve) in 3.7s on average. ropbot has already been adopted in the real-world and is used by Google [16], [17], multiple vulnerability research companies, and serves as the foundation of some research prototypes [18], [19].
Contributions. We make the following key contributions:
- We revisit the challenges of synthesizing code reuse chains in an architecture-agnostic fashion to study the issue of efficiently synthesizing CR chains.
-
Based on this analysis, we propose a new approach to
- understanding code reuse gadgets: an abstraction layer called ROPBlock that significantly reduces the complexity of CR chain generation.
- Building on all datasets used in prior work, we release a comprehensive dataset and evaluation framework that can assist the evaluation for future CR techniques.
- We implement our ROPBlock approach into a tool called ropbot, which, according to our evaluation, is able to effectively synthesize CR chains faster than prior work, on more/larger targets than prior work, and across more architectures than prior work.
To foster future research, we open source the artifact of ropbot at https://github.com/sefcom/ropbot.
II. CHALLENGES
This paper aims to solve the problem of automatically synthesizing a code reuse chain: Given a vulnerable binary program with a control flow hijacking primitive and a target payload computation, our goal is to automatically generate a CR payload that carries out the payload computation in the vulnerable binary. Despite being around for more than a decade, there are many open challenges towards automatically synthesizing CR chains. We separate three different categories: diverse gadget type support, cross-architecture gadget chaining, and state exploration.
1) Diverse Gadget Types Support: Traditionally, CR attacks were limited to ROP, where a gadget is a series of instructions that ends in ret. As CR techniques evolved, more gadget types have been discovered. Examples include the gadgets used in the return-to-csu attack [14] and GOT gadgets [15]. These gadgets end with call [mem] or jmp [mem] and exist extensively in programs; for example, the gadget mov rdx,r13; mov rsi,r14; mov edi,r15d; call [r12+rbx*8] is inserted into all dynamically linked ELF executables by compilers. Combined with another gadget that sets the registers, it can be used to invoke a pointer in memory with attacker-controlled arguments. Despite giving an attacker extensive control, the required chaining of gadgets is too complex and most automated gadget chaining techniques currently ignore such gadgets ending in call [mem] entirely [10], [20] or impose additional constraints [9], [11], [12], such as needing an information leak.
| One intuitive solution to automatically leverage such gadget types would be to dynamically generate them on-thefly, i.e., to write the needed gadgets into memory first, and then invoke them. Although a presumably minor change, the generate-and-test (GAT) algorithm underlying all state-of-theart works [8]–[12], [20] cannot handle it. Fundamentally, this is because the first step is to generate a list of available gadgets, which they need to ensure are unconditionally chainable. For example, for pop rax; ret | pop rbx; ret, no matter the values of rax and rbx, these two gadgets are chainable. But first writing data to memory and then invoking it as a gadget later creates a conditionally chainable situation. In other words, the list of gadgets may be chainable |
block_A: block_B:
pop rax ret
jmp block_B
Listing 1: Gadget consisting of more than one basic block.
| depending on other values in the chain. For example, consider the following list of the gadgets: pop rax; ret | pop rbx; ret | mov [rax], rbx; ret | pop rcx; ret | pop rdi; call [rcx]. They are only chainable if rax == rcx, and rcx is a gadget that cleans up the return address pushed to stack by the call instruction. Without the additional constraints, neither symbolic execution nor SMT solvers can verify the feasibility of this chain, thus rejecting it. As a result, existing works cannot model ret2csu and GOT gadgets without additional primitives. |
- 2) Gadget Identification across Architecture: Many existing CR chaining tools [9], [21], [22] search for gadgets using the Galileo Algorithm [1]: They first identify "anchor instructions", such as ret or jmp on x86, and then search backwards to find potential gadgets. However, there are a few shortcomings associated with this approach:
- Overlooking gadgets: The intuition behind using such "anchor instructions" is that gadgets usually end with such instructions. However, not all potential gadgets necessarily do. For example, although most gadgets in ARM end with bx and pop pc, there is a significant number of instruction sequences that contain ldr pc, [sp], #
. While ignored by existing works [\[21\]](#page-13-19), [\[22\]](#page-13-20), they should be considered as gadgets. - Requiring domain knowledge and manual effort: It is potentially possible to exhaustively collect all instructions that may serve as the end of a gadget. However, this approach requires domain knowledge and manual effort to support each architecture. Also, "anchor instructions" may differ across different compilers or calling conventions.
- Overlooking multi-block gadgets: Consider the example in Listing 1, where block A ends in a direct jump to block B, which ends in a ret. The reverse search algorithm will only mark block B as a gadget. In reality, any execution starting from block A will also end with ret, extending the pool of available gadgets. The underlying issue here is the reverse search starting from an "anchor instruction".
- Overlooking gadgets: The intuition behind using such "anchor instructions" is that gadgets usually end with such instructions. However, not all potential gadgets necessarily do. For example, although most gadgets in ARM end with bx and pop pc, there is a significant number of instruction sequences that contain ldr pc, [sp], #
How to find all potential gadgets with minimal or no domain knowledge becomes even more challenging when attempting to find gadgets for more than one architecture. Currently, most tools support limited architectures.
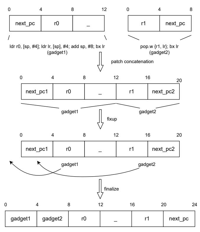
| 3) Payload Chaining across Architectures: Payload chaining is an essential functionality to achieve arbitrary exploitation goals. For example, we may want to chain two payloads, where the first writes "/bin/sh" into memory and the second then invokes execve with "/bin/sh". Ideally, we have an architecture-agnostic solution to do so. However, previous work either does not support payload chaining [9]–[12] or supports only x86/x64 [20]. Here, chains can be just concatenated as strings due to its architectural design: for example, to combine two chains, pop rax; ret | 0x41414141 and pop rbx; ret | 0x42424242, we can just concatenate them into pop rax; ret | 0x41414141 | pop rbx; ret | 0x42424242. This is no longer a trivial task when considering other architectures, such as ARM and AArch64. Consider the following ARM-based chain: ldr r0, [sp,#4]; ldr lr,[sp],#4; add sp,#8; bx lr | 0x0 | 0x41414141. This chain loads r0 from [sp+4], lr from [sp], and then increases sp by 12. If we want to chain it with pop.w {r1, lr}; bx lr | 0x42424242 to set both r0 and r1, the final chain needs to be like this: gadget1 | gadget2 | 0x41414141 | 0 | 0x42424242, which is completely different from the linear layout that we usually see on x86/x64. Besides the difference in instruction sets, calling convention is another issue making payload chaining hard on non-x86 architectures. On AArch64, functions end with jmp x30 (still rewritten as ret). In other words, invoking a function and continuing execution now involves two steps: set x30 to a gadget we want to execute after the function call and then invoke the function. |
In summary, different architectures and calling conventions make generic, cross-architecture payload chaining challenging.
III. DESIGN
We design ropbot to overcome these challenges. Our design's central component is a new abstraction layer, ROP-Blocks, which essentially is a special grouping of gadgets, such that any ROPBlock is guaranteed to be chainable. We then build a CR chain on top of ROPBlocks, deviating from the common wisdom that "chains consist of gadgets". In the following, we first discuss our threat model, define ROPBlocks, and then discuss how to find them in binaries and use graph-based search algorithms to generate CR chains.
A. Threat Model
We assume a threat model aligned to real attacks, where attackers control only the payload placed on the stack. This is the same threat model as exrop [20] uses. We specifically do not follow prior work here that assumes an attacker additionally knows the location of the payload [9], [12] or can even set arbitrary memory values [11] before executing the chain. These assumptions may not hold for real-world attacks and require additional primitives. Besides this difference, ropbot shares the same assumption as other tools: attackers know the address of executable code (by bypassing ASLR or disabling PIE) and backward-edge CFI (e.g., PAC, CET) is absent.
B. The Concept of ROPBlocks
ROPBlocks are our way of grouping gadgets, with their key property being guaranteed chainability. We design them based on an observation we made across CR chains, a concept we call stack patch.

Fig. 1: Stack patch of a x64 gadget.
Stack Patch. Studying CR attacks, we observe that they consist of "frames", akin to function stack frames. To avoid ambiguity, we call them stack patches in the context of CR chains. More precisely, we define a stack patch as the data on the stack, bounded by the stack pointer before and after executing the gadget. The change of the stack pointer before and after gadget execution is referred to as stack change. In Figure 1, the gadget pop rax; ret is associated with a stack patch of 16 bytes (and the stack change is 16). During execution, it will pop the first 8 bytes into rax and then pop the second 8 bytes into PC, which enables gadget chaining.
Interestingly, a gadget does not guarantee a positive stack change (e.g., xor rax, rax; call rbx), which implies there are gadgets without a stack patch. As an attacker controls solely the stack patch, these gadgets introduce additional constraints for chaining. To avoid the associated complexity, we propose a new concept, ROPBlocks.
ROPBlock. We say a gadget (or a sequence of gadgets) is a ROPBlock if and only if it
- has a positive stack change (thus having a stack patch),
- takes the PC from the stack patch, and
- does not conditionally branch.
By definition, a ROPBlock loads the PC from the stack patch, a region controlled by the attacker, thus, it is guaranteed to be chainable with any other ROPBlock. With this in mind, it is clear that some gadgets are ROPBlocks by definition (called self-contained gadgets), while others are not. For example, pop rax; ret is a ROPBlock while pop rbx; jmp rax is not (it takes the PC from rax). cmp rax, 1; jnz
Crucially, however, gadgets that are not self-contained, i.e., that are no ROPBlocks on their own, can be turned into ROPBlocks by combining them with other ROPBlocks. For example, the gadget cmp rax, 1; jnz
We emphasize that part of a ROPBlock's properties is an implicit requirement in many past works. For example, SGC, exrop, and Crackers filter out gadgets containing conditional branches. RiscyROP and exrop do not utilize gadgets ending with call [mem] or jmp [mem] because the PC does not come from the stack.
C. Workflow
With the concept of ROPBlocks in mind, we focus on ropbot's workflow that consists of three steps:
- 1) Collect ROPBlocks by finding gadgets and identifying self-contained gadgets as the initial set of ROPBlocks.
- 2) Generate more ROPBlocks by turning non-self-contained gadgets into ROPBlocks by combining them with existing ROPBlocks.
- 3) Use a graph search-based algorithm to find a list of ROPBlocks that can achieve the attacker goal and turn it into a chain. This requires ROPBlocks to be chainable.
D. ROPBlock Collection
In the first step, ropbot finds gadgets in the target binary and identifies gadgets that are already ROPBlocks (self-contained gadgets).
1) Gadget Identification: To find gadgets in the target binary, we propose an algorithm that differs from the Galileo algorithm used by all prior work. We want to identify gadgets without heuristics or manually crafted "anchor instructions".
In this work, a gadget is a sequence of instructions that exists in the target binary, executes in order, and can potentially set the next PC to a fully attacker-controlled value. The relaxed notion of potentially setting the PC allows for including conditional branches. We implement our gadget identification using symbolic execution: given an executable address, ropbot symbolically executes a fully symbolized state (symbolized register, stack, and memory) starting from that address and checks whether the code moves any symbolic value into the PC. If so, it marks the starting address with that execution history as a gadget (one starting address may lead to different execution histories).
This new gadget identification algorithm has multiple advantages:
- It is architecture-agnostic and does not require architecture-specific domain knowledge.
- It allows us to find all instruction sequences that can be potentially used to an attacker's advantage to execute payload logic while maintaining the control flow, including ret2csu gadgets and GOT gadgets.
- It can find gadgets spanning multiple basic blocks, whereas the Galileo Algorithm is limited to one block. This leads to more usable gadgets.
When given a binary, ropbot exhaustively analyzes all executable addresses to find all potential gadgets using the aforementioned gadget identification algorithm. This algorithm is slow due to the speed of symbolic execution. To mitigate the impact, we design a caching mechanism. Essentially, we only analyze position-independent gadgets once and cache them. To determine whether a gadget is position-independent, we move the bytes into another address and see whether constants in the gadget change. For example, pop rax; ret will be considered a position-independent gadget because nothing changes if we move the bytes to another address. However, lea rax, [rip+0x100]; jmp rax will be considered a position-dependent gadget, because [rip+0x100] will be resolved into another constant when the gadget is placed at a different address. Thus, lea rax, [rip+0x100]; jmp rax will not be cached, allowing us to reach different code regions.
2) Gadget Effect Analysis: For each found gadget, we create a fully symbolized state (symbolized registers, stack, and memory) and execute the gadget. By tracking the symbolic execution history, we can track the memory accesses and conditional branch information about the gadgets. By comparing the symbolic states before and after executing the gadget, we can also obtain the gadget's effects on registers.
Specifically, the stack change is calculated by subtracting the stack pointers, which is important for building stack patches later. We also track the register popping, moving, and changing behaviors. Importantly, we also track it when registers are set to concrete values, such as in xor rdx, rdx; ret, where rdx is set to 0. This is important to generate chains for tasks that want to set rdx to 0, such as execve("/bin/sh", NULL, NULL).
Notice that all these "popping", "moving", or "changing" actions are gadget effects, not instructions, and thus architecture-agnostic. Although push rax; pop rbx; ret involves only push and pop, it will be considered a register move from rax to rbx. Also, "register pop" here means that the register values come from the stack (e.g., mov rax, [rsp+8]; add rsp, 0x10; ret), so gadgets do not need to have a literal "pop" instruction.
3) Gadget Categorization: Based on the control flow transition types, we categorize gadgets into three types:
pop_pc. The next PC value comes from the stack, e.g., ret or ldr lr,[sp],#4;add sp,#8;bx lr. Notice that all self-contained gadgets are pop_pc gadgets by definition (taking the PC from the stack patch).
jmp_reg. The next PC value comes from another register, e.g., jmp rax.
jmp_mem. The next PC value comes from a specific memory location (e.g., call [rax+8*r12] in ret2csu). By definition, ret2csu and GOT gadgets are all jmp_mem gadgets.
Note that we categorize gadgets by effects, not instructions. Even though a gadget such as pop rax; jmp rax ends with a jump to registers, it is considered as pop_pc, because at the end of the execution, the PC comes from the stack. Finally, we identify self-contained gadgets (pop_pc gadgets with no conditional branches) as the initial list of ROPBlocks.
E. ROPBlock Generation: Iterative Graph Optimization
In this step, we aim to generate more usable ROPBlocks by turning non-self-contained gadgets into ROPBlocks. This is achieved by utilizing a Register Moving Graph and the Gadget Normalization procedure.
At this point, we already have some usable ROPBlocks (the self-contained gadgets). This allows us to bootstrap and create a minimally functional chain builder and perform simple tasks,

Fig. 2: Register Moving Graph.

Fig. 3: How ropbot normalizes a jmp_mem gadget.
such as setting registers or writing to memory using the same algorithm described in Section III-F.
-
1) Register Moving Graph: We then build a directed graph modelling the register moving effect. As shown in Figure 2, we consider each register a node in the graph. We add an edge (Reg A, Reg B) if and only if there are ROPBlocks that move register A to register B. By using this graph, we can decide whether there exists a chain that can move any register to another. For example, in Figure 2, the chain builder can tell there is a chain push rax; pop rbx; ret mov r12, rbx; ret that moves rax into r12. Note that edges are associated with ROPBlocks, so they can be easily chained together into a new ROPBlock (§III-F1). - 2) Gadget Normalization: Then, we check whether any non-self-contained gadget provides unique capabilities (i.e., sets a register that all existing ROPBlocks cannot set, or it performs a unique register move); if yes, we "normalize" them into ROPBlock for later use. Here, the goal is to group the non-self-contained gadget with other ROPBlocks into a new ROPBlock while maintaining its unique capability.
The gadget normalization procedure is as follows:
- If a gadget is a jmp_reg or jmp_mem gadget, prepend it with a ROPBlock that can set the target register or write to the memory (e.g., prepend pop rax; ret to pop rbx; jmp rax to gain the capability of setting rbx).
- If a gadget has a non-positive stack change or takes PC outside its stack patch, chain it with a stack shift-
ing ROPBlock (e.g., chain pop rax; call rax with add rsp, 8; ret).
• If a gadget contains conditional branches, prepend it with a ROPBlock that sets the correct constraints.
The result of the procedure described above is a list of gadgets and corresponding constraints (e.g., where to write when normalizing jmp_mem gadgets). We turn the list of gadgets into a ROPBlock using symbolic execution. Specifically, we first create a fully symbolized state and symbolically execute the first gadget. When the execution finishes, the state will be at an "unconstrained" state because the PC comes from usercontrolled data. Note that the gadget normalization process ensures that all the PC values can only come from the stack (if not, it will be prepended with a ROPBlock to set the register/memory, etc). Then, we can constrain the state PC to be the next gadget's address, which is essentially setting the correct stack data to the address. During symbolic execution, we apply the chain constraints so that the execution will only follow the chainable state. For example, when angr observes a write to a symbolic address, we concretize the variable using values from the provided constraints. By finishing symbolically executing the list of gadgets, we obtain a ROPBlock together with its stack patch. After this process, we also perform the effect analysis on the generated ROPBlock, just as for the gadget effect. As a result, if there are any conflicting constraints in the ROPBlock, they will be captured during symbolic execution and reflected in the ROPBlock effect result.
The symbolic execution step essentially embeds the constraints into each ROPBlock so that it can be chained independently of other ROPBlocks, which ensures that ROPBlocks are unconditionally chainable. For example, we can normalize cmp rax, 1; jne
In Figure 3, we show how ropbot normalizes a pop r9; pop rbp; call [rbp+0x48] gadget to gain the unique capability of setting r9 while maintaining the control-flow. We first prepend the main gadget with a memory writing chain and write the address of the stack shifter there. Then, we symbolically step through the main gadget, which sets r9 to
By using the gadget normalization procedure, we turn gadgets that are hard to work with but provide unique capabilities into ROPBlocks so that they are usable by our chain builder. However, not all gadgets can be normalized if they require gadget setting capabilities that our chain builder does not currently possess.
3) Graph Optimization: Then, we utilize the Register Moving Graph to gain capabilities in terms of setting new registers. We use the graph to check whether there is any path from a register that we can set (e.g., Reg A) to a register we cannot set (e.g., Reg B). If such a path exists, we can combine the ROPBlock that sets Reg A and the ROPBlock that move Reg A to Reg B, and thus we obtain a new ROPBlock that can set Reg B.
As such, new edges in the Register Moving Graph may lead to new register setting capability; new register setting capability may enable the normalization of gadgets that provide unique capabilities. So, we perform the optimization iteratively until we can no longer normalize any gadget that provides unique capabilities.
F. Chain Generation: Graph Search
Finally, we need to craft a chain that fulfills the attacker's goals. We split the chain building task into sub-tasks: Register Setting, Register Moving, Function Invocation (Syscall Invocation), Memory Writing, and Stack Shifting.
Among them, Memory Writing and Stack Shifting are simple. Memory Writing involves choosing a ROPBlock that performs a memory write at a symbolic location. By correctly setting the registers using Register Setting capability, we can ensure that when chained with the register setting chain, the ROPBlock can perform a controlled write at the desired address. Stack Shifting is simply shifting the stack pointer without clobbering the existing state by choosing a ROPBlock that has a wanted stack change value. This module is needed for normalizing gadgets for stack cleaning as demonstrated in Figure 3.
Register Moving can be performed by using the Register Moving Graph built during graph optimization.
1) Payload Chaining: ropbot's Chain Builder only works with ROPBlocks. By definition, a ROPBlock has positive stack changes, thus it has a stack patch. The abstraction of the stack patch makes payload chaining naturally an easy task. As shown in Figure 4, it consists of two steps: 1. Concatenate the stack patches of two blocks, and 2. fix up the next_pc value in the stack patch to chain the two ROPBlocks. This abstraction makes it easy to generate CR chains that are not linear. One notable property of this payload chaining process is that the chaining result is also a ROPBlock, making it easy for further manipulation.
In this model, Return-Oriented-Programming on x86 becomes a special case where all gadgets/ROPBlocks have next_pc values in the last position of their stack patches (because ret moves the last value in the stack patch to PC).
- 2) Register Setting: Setting registers is the core challenge of CR chain generation. In our work, we consider three ways of setting registers:
- Register pop. This is the most common way of setting registers, e.g., pop rax; ret. In our framework, we

Fig. 4: The process of chaining two ROPBlocks.

Fig. 5: Register Setting Graph for setting {rax,rbx,rcx}.
consider all memory loads from the stack as "register pop", including mov rbx, [rsp+0x10].
- Register moves. It is common that not all registers can be set through register popping due to the lack of gadgets or constraints on inputs (e.g., bad bytes). In those cases, we can set the value in one register using register pop and then move it to the target register. Gadgets with unique register moving capabilities will be turned into register pop ROPBlocks during graph optimization.
- Concrete values. In cases where a value cannot be set through register popping at all, we may resort to using existing concrete values in gadgets (e.g., use xor rax, rax; ret to set 0 when pop rax; ret does not exist).
The core idea of our solution is to build a directed graph to represent the program state transition and find a path that can set all the requested registers. During Iterative Graph Optimization (§III-E), we gain the ability to set each individual register (in the form of register pops); we now need to find the shortest chain for a given set of registers with no conflict.
With all the ROPBlocks, we build a directed graph where each node represents the state of register control. Specifically, when a user wants to set rax, rbx, rcx, each node is a 3-boolean tuple that represents whether each register is already in our control. For example, (True, False, True) (written as 101), in the order of rax, rbx, rcx, is one of the nodes that means rax and rcx are under our control (can be popped), while rbx is not. Each edge means there is at least one ROPBlock that transitions from one state to another. Register pop ROPBlocks can clearly lead to state transitions, thus are added as edges in the graph. Besides them, we also check ROPBlocks with concrete value effects. For example, if the request is to set rdx to 0, this step will add xor rdx, rdx; ret as an edge because this ROPBlock can lead to the correct register control. As a result, our algorithm can utilize all three ways of setting registers (register move gadgets will be turned into register pop ROPBlocks during graph optimization) in a uniform way.
During the graph-building process, we model all ROPBlocks precisely. Besides their register pop effects and concrete values, we also check whether they clobber any wanted registers. For example, the pop rcx; xchg rax, rsi; ret ROPBlock sets rcx but clobbers rax. So it will add an edge 100-001 (in the order of rax, rbx, rcx) to the graph (besides other edges such as 000-001).
Now, the task of finding a chain that sets all the registers becomes finding a path from the Node representing no register control to the Node representing full register control. In the above example, it means finding a path from Node 000 to Node 111, which is visualized in Figure 5.
This graph takes O(n) to build, where n is the number of ROPBlocks, because we need to go through all ROPBlocks and add corresponding edges if needed. And it takes O(22k ) to solve, where k is the number of registers to set: Let V be the number of nodes in the graph, then V = 2k . To solve the shortest path problem in the graph takes O(V 2 ), which is O(22k ). Since k is small and constant in practice, O(22k ) is negligible. As a result, the problem of register setting takes O(n) to solve using this graph search.
3) Function/Syscall Invocation: The goal of CR chains is to invoke functions or system calls such as mprotect (inject shellcode) or execve (execute "/bin/sh"). But this task is non-trivial across architectures due to the variety of calling conventions out there.
Here, we design a calling-convention-agnostic algorithm to handle function and syscall invocation by introducing an Invocation pseudo-gadget, a gadget that invokes a function or syscall. Essentially, the Invocation gadget is a pseudo-gadget that has different gadget effects under different architectures and calling convention configurations.
For function invocation, the Invocation gadget is a pseudogadget that points to the target function's address. Notice that, depending on the architecture and calling convention, an Invocation gadget may or may not be self-contained. For example, on x64, a function Invocation gadget is as simple as the address of the function itself with a stack change of 8, and it is self-contained (functions end with ret, which is equivalent to pop pc). But on AArch64, it is no longer selfcontained because its stack change is zero and functions end with ret, which is equivalent to jmp x30. This means that the function Invocation pseudo-gadget is a "jmp_reg" gadget. For syscalls, the Invocation gadget is just a normal gadget that invokes syscalls (e.g., syscall; ret). Note that we identify system call invocation by checking the basic block's jump kind (syscalls are marked as Ijk_Sys in Valgrind [23]'s vex library, which is used internally by angr). So we do not rely on architecture-specific instruction identification.
With the Invocation gadget, we leverage the calling convention analysis in angr to map function arguments passed by users to registers and stack data. We can pass stack arguments as we control the stack and we utilize the previously described Register Setting capability to set register arguments. Then, we append the Invocation gadget. Finally, we normalize the gadgets to make the whole chain a ROPBlock. For example, on AArch64, a function Invocation gadget is a jmp_reg gadget, so we normalize it by setting x30 before setting arguments and invoking the function. We do this for all calling conventions that return to a register. On x86, function Invocation needs to clean up the arguments on the stack, which can be done by setting the next_pc to a stack-shifting gadget. We infer the need for it by checking the number of stack arguments.
Note that the effects of Invocation gadgets are inferred from angr's calling convention analysis (angr can analyze function and syscall calling conventions based on the architecture and operating systems), no manual effort is needed to craft the Invocation gadget on a per-architecture basis.
G. Scalability
Although ropbot uses symbolic execution in its design, we limit its use to simple tasks (i.e., gadget effect analysis and turning lists of gadgets into ROPBlock). We do not utilize it for exploration, thus avoiding the notorious state explosion problem. This is evidenced by the fact that ropbot works for the Linux kernel, Chromium, and Firefox (Table V), three of the largest binaries.
H. Implementation
We implemented our prototype ropbot in 7, 478 lines of Python code, using angr as the symbolic executor and networkx as the graph library. The overall development lasted for around 10 years, but concepts presented in this paper, including ROPBlock, gadget identification algorithm, and the graph search algorithm were implemented within three months. Overall, ropbot is architecture-agnostic: To demonstrate its extensibility, we added support for RISC-V: The whole development process only took us two hours, involved changing 12 lines in ropbot, 88 lines in angr, and 152 lines in archinfo, one of angr's dependencies. The changes were mostly to fix the wrong RISC-V specification used by angr and archinfo. The 12 lines of changes to ropbot are trivial changes, only for declaring RISC-V support.
IV. EVALUATION
In the following, we evaluate ropbot to determine its efficiency and effectiveness in generating CR gadget chains. We first discuss our experimental setup, then conduct an experiment on x64, other architectures, and study two cases, highlighting how ropbot performs on the Linux kernel and across security-critical, widely used applications. Following our comparative evaluation, we conduct ablation studies to understand the performance improvement and new gadgets that only ropbot can use.
A. Experimental Setup
We compare ropbot against all existing open-source CR chain generation tools. We now briefly introduce these tools, with details and notable differences listed in Table I.
1) State-of-the-art Tools: We identify five open-source works relevant to our evaluation.
SGC [9] encodes all potential gadgets and their combinations as SMT formula that is then passed to an SMT solver. As many gadgets incur high solving overhead, SGC samples some gadgets in each round (generate) and checks if a valid chain can be formed for this subset (test).
Exrop [20] uses ROPGadget [21] to find gadgets statically and then uses Triton [24] to analyze the registers each gadget can set. It then enumerates all potential gadget lists that can satisfy a register setting request and uses Triton to verify the feasibility of the chain.
RiscyROP [10] uses an algorithm similar to exrop's with an improved enumeration algorithm so that valid chains are more likely to appear early in the enumeration.
Crackers [11] uses an SMT-based algorithm in an SGC-like fashion. Instead of directly encoding all native instructions in gadgets as SMT formula, it lifts native instructions to Ghidra's P-Code first and encodes P-Code. This extra lifting process provides the potential of working for different architectures. Arcanist [12] was published concurrently to Crackers and essentially proposes the same algorithm and architecture. Though, it lifts native instructions to Binary Ninja Intermediate Language (BNIL) instead of Ghidra's P-Code and then encodes BNIL to SMT formulas.
When studying them (see Table I), we find that all except RiscyROP focus on x64, SGC and Arcanist additionally support x86, and Arcanist supports ARM as well. RiscyROP works only for AArch64 and RISC-V. All except Crackers and Arcanist allow to output the payload as bytes. Support for more complex gadgets, such as ret2csu ones, ones containing conditional branches, or ones spanning multiple blocks, is generally bad with exception of RiscyROP. Similarly, only exrop allows chaining multiple payloads, which is a convenience in practice. Interestingly, half of the approaches (SGC, Crackers, and Arcanist) sample from all potential gadgets before constructing a chain, increasing performance at cost of accuracy.
TABLE I: Capabilities and characteristics of open-source CR chaining tools. (B)GAT refers to the (bounded) generate-and-test algorithm. Attacker needs to: control Stack content (S), know stack location (L), control arbitrary memory values (Mem).
| SGC [9] | exrop [20] | RiscyROP [10] | Crackers [11] | Arcanist [12] | ropbot | |
|---|---|---|---|---|---|---|
| Architectures | x86/x64 | x64 | AArch64/RISC-V | x64* | x86/x64/ARM | Multi |
| Algorithm | BGAT | GAT | BGAT | BGAT | BGAT | Graph |
| Byte Generation | ✓ | ✓ | √ † | × | X | ✓ |
| Conditional Branch | X | X | ✓ | X | ✓ | ✓ |
| Multi-Block Gadget | X | X | ✓ | X | X | ✓ |
| Return-to-csu | X ‡ | X | X | χ§ | X ‡ | ✓ |
| Payload Chaining | X | ✓ | X | X | X | ✓ |
| Uses Full Gadget Space | X | ✓ | ✓ | X | X | ✓ |
| Attacker Requirements | S, L | S | S | S, L, Mem | S | S |
- * Crackers may support multiple architectures but was only evaluated on x64.
- † RiscyROP can output payload in bytes only after we modified it.
- ‡ SGC and Arcanist can utilize ret2csu gadgets if the address of the payload on stack is known.
- § Crackers can utilize ret2csu gadgets only if all memory is addressable and controlled by attackers.
- 2) Attacker Capabilities: In line with our threat model, our evaluation assumes attackers do not control the initial program state except for the stack, where the attacker can place a gadget chain of arbitrary length. We use the same assumptions across all tools, with one exception: SGC and Arcanist additionally require knowing the location of the payload, which we provide. This gives SGC and Arcanist an unfair advantage, as other tools do not require or use this information.
- 3) Chain Verification: Generating a gadget alone is no guarantee that it fulfills attacker guarantees, as outlined in prior work [8], [9]. These chains can lead to crashes by accessing memory at an unconstrained address or lead to non-deterministic results when using gadgets with conditional jumps but failing to satisfy the jump constraints. To ensure correctness, we developed a symbolic verification framework on top of angr that simulates a control-flow hijacking scenario and loads the bytes produced by each tool into the symbolic state and starts execution. It considers a chain correct only if the execution is deterministic, all memory accesses are constrained to mapped regions, and the chain achieves the expected outcome (e.g., execute an execve syscall). As Crackers and Arcanist cannot generate CR chains in byte form, we are unable to verify their generated chains; we conservatively use the number of generated chains instead.
- 4) Harware Setup & Parameters: All experiments were performed on a machine with 2 Intel(R) Xeon(R) CPU E5-2670 v2 @ 2.50GHz CPUs (20 cores, 40 threads, frequency scaling enabled) and 256GB RAM@1600MHz, with swap disabled All tools support concurrent computation and were configured to fully utilize the 40 cores. Following Crackers [11], we set a timeout of 30 minutes for each target. Time is measured by inserting Python time.time() calls before and after each target task.
B. x64 Evaluation
We first evaluate the tools on x64, as it is the most widely tested architecture. We first present our dataset and tasks, before then discussing results shown in Table II.
Dataset. Our dataset consists of 1016 random ALLSTAR [25] binaries used in Crackers and 6 binaries used in SGC. Note
that the ALLSTAR dataset comprises real-world binaries from Debian. In total, we obtain a large and diverse set of 1022 binaries.
Task 1: facefeed. The first task is to invoke a function with three arguments: 0xfacefeed (0xdeadbeef, 0x40, 0x7b), modeling Crackers' evaluation. We use this task as a baseline to test each CR chain generation tool's functionality and perform it for all 1022 binaries.
| Task 2: mmap. We target mmap with six arguments: mmap (0x41414000, 0x1000, PROT_READ | PROT_WRITE | PROT_EXEC, MAP_ANON | MAP_PRIVATE | MAP_FIXED, -1, 0), following SGC's evaluation. We use this task to stress each tool's ability to generate chains that set multiple registers. This chain is relevant in practice because one can use this function call to inject shellcode (combined with a memory write) and obtain arbitrary code execution. We perform this task on binaries containing mmap in the PLT, which is the case for only 64 of our binaries. |
Task 3: execve. The third task is to invoke the execve("/bin/sh", NULL, NULL) system call, following SGC's evaluation. This checks each tool's ability to invoke system calls and write memory (binaries usually do not contain the "/bin/sh" string). We perform this task on all binaries with at least one "syscall" instruction, which results in 272 binaries.
Task 4: Full chain. Then, the last task is invoking a full chain: dup2(3,0)+dup2(3,1)+execve("/bin/sh", NULL, NULL). This CR chain is commonly used in exploiting servers, known as the socket reuse payload [26]. We use it to test the tools' ability to generate realistic CR chains, and we run it on binaries containing both the dup2 function call and "syscall" instructions, resulting in 37 binaries.
1) Results: For this dataset and these four scenarios, we study how many chains can be generated, how many of them can be verified (success), and how many are invalid (false positives) or the tool hit the 30-minute timeout before generation. We also track the time per stage (gadget finding, for ropbot graph optimization, and chain-time) as well as the time it took the tool to process all binaries in the dataset (total time). As shown in Table II, ropbot not only outperforms all
TABLE II: Chain generation capability for x64 binaries, detailing Successful, verified chains out of Generated ones (invalid chains are False Positives and Timeouts are cases where no chain was produced in 30 minutes), average time taken per stage (finding gadgets, optionally optimizing the graph, and generating a chain), and Total Time needed to process full dataset.
| Tool | Success | Generated | False Positives | Timeout | Gadget Finding | Avg Time per Stage Optimization |
Chaining | Total Time |
|---|---|---|---|---|---|---|---|---|
| facefeed (total: 1022 binaries) | ||||||||
| ropbot | 635 | 635 | 0% | 0% | 11.5s | 6.9s | 0.4s | 5.3h |
| exrop | 357 | 358 | 0.3% | 4.1% | 9.8s | - | 72.8s | 23.4h |
| SGC | 616 | 633 | 3.8% | 14.8% | 225.3s | - | 312.6s | 130.9h |
| Crackers | - | 353* | - | 3.9% | 24.4s | - | 237.7s | 72.4h |
| Arcanist | - | 416 | - | 20.2% | 180.8s | - | 457.2s | 167.4h |
| mmap (total: 64 binaries) | ||||||||
| ropbot | 21 | 21 | 0% | 0% | 25.3s | 11.4s | 1.2s | 0.7h |
| exrop | 4 | 4 | 0% | 10.9% | 56.7s | - | 199.9s | 4.5h |
| SGC | 0 | 0 | - | 28.1% | 932.1s | - | 240.3s | 17.5h |
| Crackers | - | 0 | - | 62.5% | 179.8s | - | 1215.4s | 22.1h |
| Arcanist | - | 0 | - | 79.7% | 903.0s | - | 1453.8s | 28.1h |
| execve† (total: 272 binaries) | ||||||||
| ropbot | 244 | 244 | 0% | 0% | 28.4s | 11.9s | 2.5s | 3.2h |
| exrop | 90 | 117 | 23.1% | 13.6% | 33.6s | - | 240.5s | 20.9h |
| SGC | 27 | 27 | 1.6% | 80.9% | 763.1s | - | 1527.8s | 123.0h |
| Crackers | - | 0 | - | 21.0% | 83.6s | - | 695.9s | 55.2h |
| fullchain (total: 37 binaries) | ||||||||
| ropbot | 37 | 37 | 0% | 0% | 81.8s | 12.9s | 3.7s | 1.0h |
| exrop | 21 | 22 | 4.5% | 5.4% | 152.3s | - | 92.7s | 2.5h |
* Crackers performs worse than in the original paper due to our stricter threat model: Attackers do not control arbitrary memory and registers initially.
tools in terms of the success rate in all tasks, but it is faster as well. Still, exrop and Crackers are fast in finding gadgets. This is because they use static analysis to identify potential gadgets first, following the Galileo Algorithm (exrop uses ROPgadget internally) and use either symbolic execution or SMT solvers to analyze the gadgets. As mentioned in Section II-2, this approach misses gadgets (e.g., gadgets spanning multiple basic blocks) by design, which significantly affects their ability to set registers as shown in the facefeed task. In our Ablation Study (§V), we observe that gadgets spanning multiple basic blocks are necessary for generating the facefeed chain for 51 binaries. ropbot is fast in gadget finding because of the position-dependent gadget caching mechanism (§III-D1).
In terms of chain generation, SGC performs exceptionally well in the facefeed task. This is because of two reasons. First, SGC generates multiple chains at once by design, while all other tools stop at the first chain. We consider one test a "Success" if any of the chains generated by SGC for the binary passes verification (and calculate false positives over all chains). Second, SGC has the unfair advantage of knowing where the payload is on stack so that it can utilize gadgets like call [rbx] by concretizing rbx to the payload address and place 0xfacefeed in the payload. In fact, we find that 94.1% of SGC's chains relied on knowing the address of the payload. ropbot can utilize these gadgets as well, but it needs to write to the location first due to not knowing the payload address.
Studying false positives, we find SGC incorrectly concretizes pointers (setting the upper bytes to 0xff, thus ren-
TABLE III: Comparison to RiscyROP on AArch64 and RISC-V. FPs = False Positives, Gen. = Generated, Opt. = ropbot's optimization stage, Chain. = gadget chaining time.
| Tool | Success | Gen. | FPs Timeout |
Avg Per-Stage Times | Total | |||
|---|---|---|---|---|---|---|---|---|
| Finding | Opt. | Chain. | Time | |||||
| AArch64 (total: 172 binaries) | ||||||||
| ropbot | 53 | 53 | 0% | 2.9% | 237.4s | 89.9s | 0.5s | 13.9h |
| RiscyROP | 9 | 17 | 47.1% | 28.5% | 833.1s | - | 176.6s | 43.4h |
| RISC-V (total: 1000 binaries) | ||||||||
| ropbot | 362 | 362 | 0% | 3.8% | 192.7s | 133.3 | 0.5s | 77.1h |
| RiscyROP | 77 | 112 | 31.3% | 46.6% | 933.3s | - | 485.8s | 316.2h |
dering it invalid). exrop sometimes incorrectly models gadgets: Internally, it uses ROPgadget to find gadget candidates, which sometimes list a sequence of instructions that end with a constant jump (e.g., pop rax; jmp
C. Non-x64 Evaluation
In this section, we evaluate ropbot's capability on non-x64 architectures. Although Arcanist supports ARM, it is only configured for a few specific CVE targets, not ready for a generic evaluation on ARM. RiscyROP is the only other tool that supports non-x64 architectures, namely AArch64 and RISC-V.
† Arcanist does not support writing memory, thus we exclude it from the execve evaluation that requires writing "/bin/sh" to memory.
TABLE IV: Evaluation result of the 0xfacefeed(0xdeadbeef,0x40,0x7b) chain. We filter out PAC-enabled AArch64 binaries, leading to a smaller number compared to other architectures.
| Avg Per-Stage Times Total | |||||||
|---|---|---|---|---|---|---|---|
| Arch | Success Total | Rate FP Timeout | Finding Opt. Chain. Time | ||||
| x64 | 635 1,022 62.1% 0% | 0.0% | 11.5s | 6.9s | 0.4s | 5.3h | |
| MIPS | 285 1,000 28.5% 0% | 0.1% | 11.2s 24.3s | 0.8s 10.1h | |||
| AArch64 | 58 | 172 33.7% 0% | 1.2% | 24.3s 59.6s | 0.6s | 3.9h | |
| ARM | 660 1,000 66.0% 0% | 0.0% | 6.0s | 8.1s | 0.6s | 4.1h | |
| RISC-V | 358 1,000 35.8% 0% | 1.1% | 34.7s 60.5s | 0.5s 24.1h |
To fairly compare ropbot against RiscyROP, we perform the evaluation with the CR chain generation task hardcoded in RiscyROP, which is to invoke 0xdeadbeef(0x40404040, 0x41414141, 0x42424242) on both architectures. Here, we enabled ropbot's conditional-branch gadget support, which is off by default due to the fact that it significantly slows down gadget finding and chain building with no significant capability improvement (Table VIII in the Appendix).
Dataset. We are not aware of any large dataset of AArch64 or RISC-V binaries, so we sampled 1, 000 binaries from Ubuntu 24.04 for both architectures. However, we found that many of the AArch64 binaries had pointer authentication (PAC) enabled, leading to very few usable gadgets and, thus, low success rates for ropbot and RiscyROP; We filter out PACprotected binaries, leaving us with 172 AArch64 binaries and 1, 000 RISC-V binaries.
1) Results: As shown in Table III, ropbot achieves 5x the success of RiscyROP under the same configuration. At the same time, RiscyROP shows a high false positive rate due to improper use of gadgets with conditional branches. RiscyROP works by identifying a potential chain, then symbolically executing it. It focuses on finding states that satisfy the expected outcome but does not reject non-deterministic chains.
D. Multi-Arch Support
Besides our comparison to other tools, we also evaluated the facefeed task across all supported architectures to investigate the impact of architecture designs on CR chain generation. The result can be found in Table IV and shows that ropbot can generate CR chains across architectures. However, its performance is significantly better on x64 and ARM. Studying gadget diversity, we observed that x64 binaries have 711 selfcontained gadgets on average, and more than 90% of the binaries include gadgets that can pop rdi and rsi, and 32.8% can pop rdx—necessary prerequisites to set the arguments. Other architectures feature only around 200 self-contained gadgets on average, and 2%-20% of binaries include gadgets that can pop the target registers. This explains why ropbot performs worse on MIPS/AArch64/RISC-V, but it fails to explain why it does well on ARM. We inspected the chain ropbot generated for ARM and immediately noticed a pattern of using two gadgets: pop {r3,r4,r5,r6,r7,r8,r9,pc} and mov r0,r7;mov r1,r8;mov r2,r9;blx r3. These
Listing 2: A commit_creds(prepare_kernel_cred( NULL)) chain generated by ropbot.
1 p = b""
2 p += p64(0xffffffff822a76a1)# xor edi, edi;
3 # jmp 0xffffffff822a7e60;ret
4 p += p64(0xffffffff8114d660)# prepare_kernel_cred
5 p += p64(0xffffffff8196eeeb)# pop rdx; pop rdi;
6 # jmp 0xffffffff822a7e60; ret
7 p += p64(0xffffffff82504104)# lea rsp,[rsp+0x8]; ret
8 p += p64(0xffffffff83600198)# <buffer>
9 p += p64(0xffffffff82211ea2)# mov qword ptr [rdi], rdx;
10 # xor edx, edx; xor edi, edi;
11 # jmp 0xffffffff822a7e60; ret
12 p += p64(0xffffffff8240191a)# pop rbp;
13 # jmp 0xffffffff822a7e60; ret
14 p += p64(0xffffffff83600150)# <buffer> - 0x48
15 p += p64(0xffffffff81aca5d2)# push rax; pop rdi;
16 # call qword ptr [rbp + 0x48]
17 p += p64(0xffffffff8114d3a0)# commit_creds
two gadgets alone are enough to generate the facefeed chain used in our evaluation, and they are pervasive in the target binaries. It is noteworthy that these are the equivalent of the ret2csu gadgets on ARM. Due to architectural features, they are compiled into jmp_reg gadgets, which makes them even more powerful for code reuse attacks.
E. Case Study – Linux Kernel
| We now study ropbot's capability of building a chain on large binaries by trying to generate the commit_creds(prepare_kernel_cred(NULL)) chain for the Linux kernel. While it is commonly seen in Linux kernel exploitation, it is not an easy task due to the lack of a mov rdi, rax; ret gadget. Security researchers have resorted to finding sophisticated chaining methods to accomplish the same effect, such as using push rax; jmp [rsi] | pop rdi; | ret [27] and pop rdi; ret | or rdi, rax; ret [28]. These chains are time-consuming to craft manually due to the need to explore all possible ways of moving rdi to rax. In our experiment, ropbot can craft a similar chain in one second (with cached gadget analysis results, which takes 7 minutes to build), shown in Listing 2. ropbot's chain writes a lea rsp, [rsp+8]; ret gadget into a buffer and then invokes it using push rax; pop rdi; call [rbp+0x48] to achieve mov rdi, rax while maintaining the control flow. This is similar to what human researchers did in CVE-2023-3390 [27]. Another sample container escape payload can be found in Appendix-A. |
Due to the Retpoline protection [29] adopted in the Linux kernel, all functions end with jmp indirect_thunk, which in turn executes ret. In Listing 2, this is jmp 0xffffffff822a7e60; ret, where 0xffffffff822a7e60 is the indirect_thunk. As a result, many existing gadget finders [21], [22] will misclassify these gadgets as gadgets ending with jmp, while in reality, they are equivalent to ending with ret. This demonstrates the importance of gadget effect analysis used in ropbot instead of instruction-based analysis and the need to analyze gadgets spanning multiple basic blocks.
TABLE V: Time needed to generate the facefeed chain (30min timeout; fail if the engine terminated unsuccessfully).
| Binary | Size | ropbot | exrop | SGC | Crackers | Arcanist |
|---|---|---|---|---|---|---|
| TFTPD | 80K | 7.5s | 1.8s | fail | fail | 254.8s |
| Webkit_jsc | 347K | 32.4s | 9.7s | timeout | 238.8s | 560.5s |
| OpenSSL | 736K | 29.4s | fail | 1422.8s | timeout | 439.1s |
| OpenSSH | 900K | 26.4s | 38.5s | timeout | 308.8s | 586.5s |
| Dnsmasq | 1.6M | 12.6s | 28.0s | fail | 193.6s | 648.6s |
| Apache2 | 2.8M | 48.1s | 69.0s | timeout | 833.8s | 1255.6s |
| Nginx | 5.2M | 26.7s | 52.0s | timeout | 1335.0s | 865.1s |
| Linux kernel | 64M | 192.0s | fail | fail | timeout | timeout |
| Firefox | 159M | 1252.0s | timeout | timeout | timeout | timeout |
| Chromium | 166M | 1626.0s | timeout | timeout | timeout | timeout |
TABLE VI: Evaluation on ropbot with different configurations. Base is ropbot with only single-block self-contained gadgets and does not perform graph optimization.
| Config | Task | Success | Total | Rate |
|---|---|---|---|---|
| Base | execve | 193 | 272 | 71.0% |
| Base+Graph_Opt | execve | 215 | 272 | 79.0% |
| exrop | execve | 90 | 272 | 33.1% |
| Crackers | execve | 0 | 272 | 0% |
| SGC | execve | 27 | 272 | 9.9% |
| Base | facefeed | 319 | 1022 | 31.2% |
| Base+Graph_Opt | facefeed | 391 | 1022 | 38.3% |
| Crackers | facefeed | 353 | 1022 | 34.5% |
| exrop | facefeed | 358 | 1022 | 35.0% |
| Full-got_gadgets | facefeed | 574 | 1022 | 56.2% |
| Full-ret2csu_gadgets | facefeed | 570 | 1022 | 55.8% |
| Full-multi_bb_gadgets | facefeed | 570 | 1022 | 55.8% |
| Full-jmp_mem_gadgets | facefeed | 457 | 1022 | 44.7% |
| Full | facefeed | 635 | 1022 | 62.1% |
| Full | facefeed | 55 | 172 | 32.0% |
| Full+cond_br_gadgets | facefeed | 56 | 172 | 32.6% |
F. Case Study – Security-Critical Dataset
We also evaluated all tools' capability on a selected subset of particularly exposed, security-critical binaries. Their nature makes them particularly interesting for attackers in practice. As shown in Table V, ropbot significantly outperforms all state-of-the-art works and is the only tool that can generate valid chains for all target binaries. In particular, it is the only tool to generate chains for Chromium and Firefox. Additionally, it is the fastest for all except the two smallest binaries, where exrop is faster. All other tools consistently timeout on large binaries, which supports our analysis that BGAT does not scale well with larger binaries.
V. ABLATION STUDY
We now investigate ropbot's performance further through ablation studies, by turning off features. Base is an ablation of ropbot that only uses single-block self-contained gadgets and does not perform graph optimization (which we add to a subsequent ablations). The result can be found in Table VI, more details in Table VII in the appendix.
A. Graph Search vs Bounded Generate-and-Test
As the top part of Table VI shows, even Base can outperform other tools, despite these tools using jmp_reg gadgets that are not self-contained. Investigating this, we find that execve chains are usually long and require performing a memory write, setting four registers, and invoking the syscall gadget, which stresses the limit of bounded generate-and-test (BGAT). BGAT-based tools are at the risk of encountering state explosion when sampling longer lists of gadgets, leading to more timeouts. For the simpler facefeed chains, we observe fewer timeouts. At the same time, some tools limit chain length by design, also leading to lower success rates. For example, SGC allows at most 16 controlled words on stack, while 53.5% execve chains generated by ropbot are longer than 16 words.
| As for the impact of our graph optimization, it boosts the success rate by 8% even when working with only singleblock self-contained gadgets. This is because graph optimization allows ropbot to find a complicated chain that provides unique effects and use it as one ROPBlock. For example, ropbot can chain pop rax;ret | mov rbx,rax;ret | mov rdx,rbx;ret to set rdx. |
B. New Gadget Categories
We also design a series of experiments to measure the impact of each newly supported gadget category on the evaluation results. Each experiment is performed by removing a specific gadget category and checking whether ropbot can still generate a CR chain. As shown in the bottom half of Table VI, each gadget type contributes uniquely to ropbot's success rate. Note that GOT gadgets contribute 5.9% and ret2csu gadgets contribute 6.3% to the success rate. But when they are combined, jmp_mem gadgets contribute 17.4% to the success rate. This suggests that there are 5.2% cases where CR chains can be generated with either GOT gadgets or ret2csu gadgets.
To evaluate the impact of gadgets with conditional branches, we design an additional evaluation on the 172 AArch64 binaries with a 30-minute chain generation timeout, with and without conditional branches. We did not perform the evaluation on the x64 binaries due to the fact that they have abundant self-contained gadgets, and ropbot prefers not to use gadgets with conditional branches because normalizing them takes up a considerable amount of payload space, which defeats the purpose of the evaluation. Our results show that utilizing gadgets with conditional branches hurts the overall performance (see Table VII in the appendix). This is because handling gadgets with conditional branches is slow compared to other gadgets due to state forking, leading to more timeouts, as evidenced by the elevated timeout rate (from 1.2% to 4.1%) and gadget finding time (from 32.3s to 237.6s). We also manually checked the one failed case and confirmed that it failed because of timeouts. By giving ropbot an infinite timeout, it can generate five more (9% improvement) CR chains with the help of gadgets with conditional jumps. Overall speaking, although gadgets with conditional branches contribute unique capabilities to the chain generation engine, the performance hit outweighs their contribution.
VI. DISCUSSION
In this section, we discuss real-world application, future work, and limitations of ropbot.
Real-world Application. We used ropbot successfully to generate privilege escalation payloads for 20 CVEs for the Linux kernel [18], which no other tool supports. To show its versatility on architectures not supported by other tools, we also used ropbot to generate RCE payloads for 37 ARM/MIPS firmware samples vulnerable to four CVEs, rehosted via Greenhouse [30]. Sample outputs can be found in Appendix-B. More Gadget Types. Although ropbot supports many gadget types, including GOT gadgets, more exist: For example, some failed chains in our evaluation can be made possible by using gadgets that can load registers from a symbolic address (e.g., mov rax, [rbx]; ret). These gadgets would require to prepend them with a chain that writes the wanted value to memory and sets rbx to the correct address.
Limitations. Although ROPBlock brings many advantages, it may lead to overlooking optimization opportunities offered by directly using gadgets and thus generating longer chains. For example, to use cmp rax,1; jne
Modern Defenses. Modern defenses raise the bar of automated code reuse payload generation but do not stop it. Position Independent Executable (PIE) [31] and Address Space Layout Randomization (ASLR) make an additional information leak primitive a necessity. Stack canaries [32] make hijacking control-flow using a stack-based vulnerability more difficult, but can be bypassed with an additional information leak primitive. Pointer Authentication Codes (PAC) and Control-Flow Integrity (CFI) [33] make obtaining PC-control much harder, but do not prevent code reuse attacks once the attacker controls the PC. This verification of pointers also reduces the amount of usable gadgets, which makes payload generation harder. Shadow stacks [34], [35] can stop ROP but not other types, such as JOP [2]; This would require modification of ropbot or other automated tools though. However, if both a shadow stack and CFI are deployed, control-flow hijacking will become impossible, rendering code reuse attacks and, thus, ropbot obsolete.
VII. RELATED WORK
We propose a new technique to rethink code reuse attacks. Orthogonal research has focused on data-only attacks and automated end-to-end exploit generation.
a) Data-Only Attacks: Beyond code reuse, another class of attacks has recently gained popularity [36]–[39]: dataonly attacks, or data-oriented programming. Other than code injection or code reuse attacks, where the attacker's first goal is to hijack the control flow, data-only attacks modify solely data without touching control flow-relevant information, such as return addresses. This way, they bypass any security policy monitoring the control flow, which is only indirectly affected through the modified data. Following an initial study [36], Hu et al. [40] proposed data-oriented programming and proved it to be Turing-complete for x86 programs in 2016. Subsequent work has proposed to automate the task of finding and stitching data-oriented gadgets [37], [38], with BOPC [38] being the first publicly available tool. Lately, Ling et al. [39] use programming language synthesis to craft data-only exploits more efficiently and effectively. Despite promising to overcome mitigations such as CFI or shadow stacks, DOP is more limited than code reuse in terms of the capabilities it provides an attacker with. It has yet to see widespread adoption in practice, and the current state of the art requires simplifying targets manually before attacks can be synthesized [39]. ropbot is orthogonal to DOP and considers only the generation of gadget chains under the traditional code reuse attack model.
b) Automatic Exploit Generation (AEG): Following a long history in memory corruption research [41], AEG [42] and Mayhem [43] pioneered the field of AEG, showing the possibility of generating end-to-end exploits automatically. During the study of AEG, researchers noticed the difficulty in automatically exploiting heap-based vulnerabilities due to the need of complex heap layout manipulation. Shrike [44] solved the problem by first identifying the heap operations associated with code fragments in interpreters (i.e., allocation and release) and then use a random search algorithm to find code that can lead to desired heap layout. Gollum [45] improved on Shrike by additionaly identifying useful exploitation primitives such as function calls and use a genetic algorithm to derive the code fragments needed to achieve desired heap layout and obtain PC-control. However, Shrike and Gollum only work on interpreters because of their primitive analysis algorithm. Maze [46] and Gagua [47] generalized Shrike and Gollum's idea to event-loop-based application and analyze primitives in each event-loop iteration so that they work beyond just interpreters. Revery [48] approached the heap exploit generation problem differently, it used heap operation as a feedback metric and let a fuzzer to explore different heap layouts efficiently. Fuze [49] adopted a similar fuzzer-based exploration strategy in automatically generating exploits for the Linux kernel and used symbolic execution to explore crashing states and achieve control-flow hijacking. Koobe [50] modeled outof-bound access vulnerabilities, explored primitives provided by the initial crash input, and successfuly showed that outof-bound access vulnerabilities can be automatically tamed to provide PC-control. These works stop at gaining PC-control or generating a hardcoded and build-specific payload. They do not aim to generate code-reuse payload for different build and architectures, thus are orthogonal to ropbot.
VIII. CONCLUSION
In this work, we propose a new architecture-agnostic abstraction called ROPBlock and a graph-based CR chain generation model to tackle the code reuse attack synthesis problem.
We show that ROPBlock provides guaranteed chainability among gadgets, which leads to improved efficiency and effectiveness in CR chain synthesis. We perform extensive evaluation on our research prototype, ropbot, against all existing works, and ropbot achieves unparalleled results: ropbot outperforms all existing tools significantly on all CR chain generation tasks. We also performed an ablation study to investigate where the improvement comes from. We believe our work is a solid step towards solving the code reuse attack synthesis problem in general.
IX. ACKNOWLEDGEMENT
We would like to thank the anonymous reviewers for their insightful feedback.
This material was supported by 2023 Google PhD Fellowship program, NSF 2232915, NSF 2146568, NSF 2247954, NSF 2442984, the Advanced Research Projects Agency for Health (ARPA-H) under contract number SP4701-23-C-0074, the Defense Advanced Research Projects Agency (DARPA) and Naval Information Warfare Center Pacific (NIWC Pacific) under contract number N66001-22-C-4026, the Air Force Office of Scientific Research under award number FA9550-24- 1-0227, Department of Navy under award number N00014-23- 1-2563, Department of Interior under Grant No. D22AP00145- 00, and generous support from the US Department of Defense.
X. ETHICAL CONSIDERATIONS
Throughout this work, we have not uncovered new vulnerabilities. We have not interfered with external systems, and in particular, all generated CR payloads have been tested on our own systems, ensuring that no users have been harmed.
As our work automates the generation of exploits, thus raising potential concerns regarding its release. While we acknowledge that ropbot can be used by malicious actors, CR chain generation is by no means limited to nefarious purposes. Quite the contrary, it is actively used for exploit verification by companies to prioritize severe bugs. In fact, our tool is currently in use at multiple companies including Google for this very purpose. We stress that ropbot itself is neutral and provides means to an end. But as malicious actors already possess the capability to craft exploits, ropbot's release does not provide them with fundamentally new capabilities. Studying prior work in this domain, we find their tools have been publicly released, which enabled reproducibility of research and public understanding of attackers' capabilities. Thus, we believe the benefits of releasing our research outweigh its potential risks.
REFERENCES
- [1] H. Shacham, "The Geometry of Innocent Flesh on the Bone: Returninto-libc without Function Calls (on the x86)," in ACM Conference on Computer and Communications Security (CCS), 2007.
- [2] T. Bletsch, X. Jiang, V. W. Freeh, and Z. Liang, "Jump-Oriented Programming: A New Class of Code-Reuse Attack," in ACM Symposium on Information, Computer and Communications Security (ASIACCS), 2011.
- [3] S. Checkoway, L. Davi, A. Dmitrienko, A.-R. Sadeghi, H. Shacham, and M. Winandy, "Return-Oriented Programming without Returns," in ACM Conference on Computer and Communications Security (CCS), 2010.
- [4] A. Sadeghi, S. Niksefat, and M. Rostamipour, "Pure-Call Oriented Programming (PCOP): Chaining the Gadgets using call Instructions," Journal of Computer Virology and Hacking Techniques, vol. 14, pp. 139–156, 2018.
- [5] K. Z. Snow, F. Monrose, L. Davi, A. Dmitrienko, C. Liebchen, and A.- R. Sadeghi, "Just-In-Time Code Reuse: On the Effectiveness of Finegrained Address Space Layout Randomization," in IEEE Symposium on Security and Privacy (S&P), 2013.
- [6] Google, "KernelCTF," 2023. [Online]. Available: https://google.github. io/security-research/kernelctf/rules.html
- [7] E. J. Schwartz, T. Avgerinos, and D. Brumley, "Q: Exploit Hardening Made Easy," in USENIX Security Symposium, 2011.
- [8] E. J. Schwartz, C. F. Cohen, J. S. Gennari, and S. M. Schwartz, "A Generic Technique for Automatically Finding Defense-aware Code Reuse Attacks," in ACM Conference on Computer and Communications Security (CCS), 2020.
- [9] M. Schloegel, T. Blazytko, J. Basler, F. Hemmer, and T. Holz, "Towards Automating Code-Reuse Attacks Using Synthesized Gadget Chains," in European Symposium on Research in Computer Security (ESORICS), 2021.
- [10] T. Cloosters, D. Paaßen, J. Wang, O. Draissi, P. Jauernig, E. Stapf, L. Davi, and A.-R. Sadeghi, "RiscyROP: Automated Return-Oriented Programming Attacks on RISC-V and ARM64," in Symposium on Recent Advances in Intrusion Detection (RAID), 2022.
- [11] M. DenHoed and T. Melham, "Synthesis of Code-Reuse Attacks from p-code Programs," in USENIX Security Symposium, 2025.
- [12] N. Bailluet, E. Fleury, I. Puaut, and E. Rohou, "Nothing is Unreachable: Automated Synthesis of Robust Code-Reuse Gadget Chains for Arbitrary Exploitation Primitives," in USENIX Security Symposium, 2025.
- [13] J. Fandinno and L. Lillo, "Solving Epistemic Logic Programs using Generate-and-Test with Propagation," in AAAI Conference on Artificial Intelligence, 2025.
- [14] H. Marco-Gisbert and I. Ripoll, "Return-to-csu: A New Method to Bypass 64-bit Linux ASLR," in Black Hat Asia, 2018.
- [15] debugmen, "libC GOT chaining," 2024. [Online]. Available: https: //debugmen.dev/pwn/2024/01/15/jump-planner.html
- [16] Google, "XDK," 2025. [Online]. Available: https://xdk.dev/about/ introduction.html
- [17] ——, "XDK-rop-generator," 2025. [Online]. Available: https://github.com/google/kernel-research/blob/main/rop\_generator/ angrop\_rop\_generator.py
- [18] K. Zeng, Z. Lin, K. Lu, X. Xing, R. Wang, A. Doupé, Y. Shoshitaishvili, and T. Bao, "Retspill: Igniting User-Controlled Data to Burn Away Linux Kernel Protections," in ACM Conference on Computer and Communications Security (CCS), 2023.
- [19] J. Miller, M. Ghandat, K. Zeng, H. Chen, A. H. Benchikh, T. Bao, R. Wang, A. Doupé, and Y. Shoshitaishvili, "System Register Hijacking: Compromising Kernel Integrity By Turning System Registers Against the System," in USENIX Security Symposium, 2025.
- [20] d4em0n, "exrop," 2020. [Online]. Available: https://github.com/d4em0n/ exrop
- [21] J. Salwan, "ROPgadget," 2011. [Online]. Available: https://github.com/ JonathanSalwan/ROPgadget
- [22] S. Schirra, "Ropper," 2015. [Online]. Available: https://github.com/ sashs/Ropper
- [23] N. Nethercote and J. Seward, "Valgrind: A Framework for Heavyweight Dynamic Binary Instrumentation," ACM Sigplan Notices, vol. 42, no. 6, pp. 89–100, 2007.
-
[24] Jonathan Salwan, "Triton," 2015. [Online]. Available: https://github. com/JonathanSalwan/Triton
- [25] J. Staff, "Assembled Labeled Library for Static Analysis Research (ALLSTAR) Dataset," Dec 2019. [Online]. Available: http://allstar. jhuapl.edu/
- [26] WangYihang, "Socket Reuse Shellcode," 2014. [Online]. Available: https://www.exploit-db.com/exploits/34060
- [27] Google, "CVE-2023-3390," 2023. [Online]. Available: https: //github.com/google/security-research/blob/master/pocs/linux/kernelctf/ CVE-2023-3390\_lts\_cos\_mitigation/exploit/lts-6.1.31/exploit.c
- [28] ——, "CVE-2023-4004," 2023. [Online]. Available: https: //github.com/google/security-research/blob/master/pocs/linux/kernelctf/ CVE-2023-4004\_lts\_cos\_mitigation/exploit/mitigation-6.1/exploit.c
- [29] P. Turner, "Retpoline: A Software Construct for Preventing Branchtarget-injection," 2018. [Online]. Available: https://support.google.com/ faqs/answer/7625886
- [30] H. J. Tay, K. Zeng, J. M. Vadayath, A. S. Raj, A. Dutcher, T. Reddy, W. Gibbs, Z. L. Basque, F. Dong, Z. Smith et al., "Greenhouse: Single-Service Rehosting of Linux-Based Firmware Binaries in User-Space Emulation," in USENIX Security Symposium, 2023.
- [31] R. Hat, "Position Independent Executable," 2012. [Online]. Available: https://www.redhat.com/en/blog/position-independent-executables-pie
- [32] P. Wagle, C. Cowan et al., "Stackguard: Simple Stack Smash Protection for GCC," in GCC Developers Summit, 2003.
- [33] M. Abadi, M. Budiu, U. Erlingsson, and J. Ligatti, "Control-Flow Integrity: Principles, Implementations, and Applications," ACM Transactions on Information and System Security (TISSEC), vol. 13, no. 1, pp. 1–40, 2009.
- [34] N. Burow, X. Zhang, and M. Payer, "SoK: Shining Light on Shadow Stacks," in IEEE Symposium on Security and Privacy (S&P), 2019.
- [35] T. H. Dang, P. Maniatis, and D. Wagner, "The Performance Cost of Shadow Stacks and Stack Canaries," in ACM Symposium on Information, Computer and Communications Security (ASIACCS), 2015.
- [36] H. Hu, Z. L. Chua, S. Adrian, P. Saxena, and Z. Liang, "Automatic Generation of Data-Oriented Exploits," in USENIX Security Symposium, 2015.
- [37] J. Pewny, P. Koppe, and T. Holz, "STEROIDS for DOPed Applications: A Compiler for Automated Data-Oriented Programming," in IEEE European Symposium on Security and Privacy (EuroS&P), 2019.
- [38] K. K. Ispoglou, B. AlBassam, T. Jaeger, and M. Payer, "Block-Oriented Programming: Automating Data-only Attacks," in ACM Conference on Computer and Communications Security (CCS), 2018.
- [39] Y. Ling, G. Rajiv, K. Gopinathan, and I. Sergey, "Sound and Efficient Generation of Data-Oriented Exploits via Programming Language Synthesis," in USENIX Security Symposium, 2025.
- [40] H. Hu, S. Shinde, S. Adrian, Z. L. Chua, P. Saxena, and Z. Liang, "Data-Oriented Programming: On the Expressiveness of Non-control Data Attacks," in IEEE Symposium on Security and Privacy (S&P), 2016.
- [41] L. Szekeres, M. Payer, T. Wei, and D. Song, "SoK: Eternal War in Memory," in IEEE Symposium on Security and Privacy (S&P), 2013.
- [42] T. Avgerinos, S. K. Cha, A. Rebert, E. J. Schwartz, M. Woo, and D. Brumley, "Automatic Exploit Generation," Communications of the ACM, vol. 57, no. 2, pp. 74–84, 2014.
- [43] S. K. Cha, T. Avgerinos, A. Rebert, and D. Brumley, "Unleashing Mayhem on Binary Code," in IEEE Symposium on Security and Privacy (S&P), 2012.
- [44] S. Heelan, T. Melham, and D. Kroening, "Automatic Heap Layout Manipulation for Exploitation," in USENIX Security Symposium, 2018.
- [45] ——, "Gollum: Modular and Greybox Exploit Generation for Heap Overflows in Interpreters," in ACM Conference on Computer and Communications Security (CCS), 2019.
- [46] Y. Wang, C. Zhang, Z. Zhao, B. Zhang, X. Gong, and W. Zou, "MAZE: Towards Automated Heap Feng Shui," in USENIX Security Symposium, 2021.
- [47] R. Li, B. Zhang, J. Chen, W. Lin, C. Feng, and C. Tang, "Towards Automatic and Precise Heap Layout Manipulation for General-Purpose Programs," in Symposium on Network and Distributed System Security (NDSS), 2023.
- [48] Y. Wang, C. Zhang, X. Xiang, Z. Zhao, W. Li, X. Gong, B. Liu, K. Chen, and W. Zou, "Revery: From Proof-of-Concept to Exploitable," in ACM Conference on Computer and Communications Security (CCS), 2018.
-
[49] W. Wu, Y. Chen, J. Xu, X. Xing, X. Gong, and W. Zou, "FUZE: Towards Facilitating Exploit Generation for Kernel Use-After-Free Vulnerabilities," in USENIX Security Symposium, 2018.
- [50] W. Chen, X. Zou, G. Li, and Z. Qian, "KOOBE: Towards Facilitating Exploit Generation of Kernel Out-Of-Bounds Write Vulnerabilities," in USENIX Security Symposium, 2020.
- [51] K. Zeng, "CVE-2022-1786," 2022. [Online]. Available: https://blog. kylebot.net/2022/10/16/CVE-2022-1786/
APPENDIX A MORE PAYLOADS
A. CVE-2022-1786 Payload Generation
We visualize ropbot's capabilities using a case study of CVE-2022-1786. This is an invalid-free vulnerability in the Linux kernel. Crucially, it was originally exploited using a code reuse attack [51]. We tried ropbot on this vulnerability, and it successfully generated a container escape payload in 1.4 seconds (with cached gadget analysis, which takes 6min to build). The payload is shown as follow:
1 p = b""
2 p += p64(0xffffffff811cd195)# pop rdi;ret
3 p += p64(0xffffffff8265e460)# init_cred
4 p += p64(0xffffffff810ca820)# commit_creds
5 p += p64(0xffffffff811cd195)# pop rdi;ret
6 p += p64(0x1)
7 p += p64(0xffffffff810c0350)# find_task_by_vpid
8 p += p64(0xffffffff811cd2b8)# pop rsi;ret
9 p += p64(0xffffffff810bd36f)# pop rdx; ret
10 p += p64(0xffffffff8108dc40)# pop rdi;ret
11 p += p64(0xffffffff826000e0)# <buffer>
12 p += p64(0xffffffff810c8fd6)# mov qword ptr [rdi],rsi;
13 # pop rbp;
14 # jmp 0xffffffff81e03100;ret
15 p += p64(0xffffffff82600098)# <buffer-0x48>
16 p += p64(0xffffffff816fbbb2)# xchg rdi, rax;
17 # call qword ptr [rbp + 0x48]
18 p += p64(0xffffffff811cd2b8)# pop rsi;ret
19 p += p64(0xffffffff8265e080)# init_nsproxy
20 p += p64(0xffffffff810c86c0)# switch_task_namespaces
21 p += p64(0xffffffff81096080)# __x64_sys_fork
22 p += p64(0xffffffff811cd195)# pop rdi;ret
23 p += p64(0xffffffff)
24 p += p64(0xffffffff8112d760)# msleep
Listing 3: A container escape chain generated by ropbot.
This chain invokes commit_creds to escalate privilege first and then use find_task_by_vpid and switch_task_namespace to escape from the namespace container. Finally, it uses the telefork technique [51] to return back to userspace. This shows that ropbot can generate code reuse attack payloads in real-world exploit development scenarios.
B. CVE-2018-18706 Payload Generation
CVE-2018-18706 is a stack overflow vulnerability found in Tenda routers. Listing 4 shows a system("/bin/sh") chain generated by ropbot for an ARM router target.
APPENDIX B ARTIFACT APPENDIX
A. Description & Requirements
This paper describes a code reuse payload generation engine and the appendix provides detailed information on how to reproduce the results mentioned in the paper. The artifact consists of the source code and the the artifact has been uploaded to Zenodo.
1) How to access: The artifact can be downloaded from Zenodo at https://zenodo.org/records/17811054. It contains both the source code and the binary dataset.
1 p = b""
2 p += p32(0x5fe9c) # pop {r1, r2, lr};
3 # mul r3, r2, r0;
4 # sub r1, r1, r3; bx lr
5 p += p32(0x0)
6 p += p32(0x6e69622f)# '/bin'
7 p += p32(0xbf30) # pop {r3, pc}
8 p += p32(0x708a1) # <buffer>
9 p += p32(0xe96c) # str r2, [r3];
10 # pop {r3, r4, fp, pc}
11 p += p32(0x0)
12 p += p32(0x0)
13 p += p32(0x0)
14 p += p32(0x5fe9c) # pop {r1, r2, lr};
15 # mul r3, r2, r0;
16 # sub r1, r1, r3; bx lr
17 p += p32(0x0)
18 p += p32(0xff68732f)# '/sh\x00'
19 p += p32(0xbf30) # pop {r3, pc}
20 p += p32(0x708a5) # <buffer+4>
21 p += p32(0xe96c) # str r2, [r3];
22 # pop {r3, r4, fp, pc}
23 p += p32(0x0)
24 p += p32(0x0)
25 p += p32(0x0)
26 p += p32(0x60894) # pop {r0, pc}
27 p += p32(0x708a1) # <buffer>
28 p += p32(0xb784) # system@plt
Listing 4: A system("/bin/sh") chain generated by ropbot.
- 2) Hardware dependencies: There is no special hardware dependencies to run the artifact. However, to reproduce the exact results described in the paper, it requires a machine with 40 cores and 256GB RAM.
- 3) Software dependencies: docker is required to run the evaluation.
B. Artifact Installation & Configuration
Running the build.sh script will build the ropbot docker container, which takes less than 5 minutes to run. Then you need to download the dataset and unpack it, which will generate a dataset folder. We will use
After the docker image is successfully built, you can do ./run
C. Experiment Workflow
At a high-level, you can use the run command to run all the experiments mentioned in the paper. The list of possible experiments is listed in task_list.txt.
D. Major Claims
- (C1): ropbot outperforms state-of-the-art systems for the code reuse payload generation capability. This is proven by experiment E1 and E2, whose results are reported in TABLE II in the table.
- (C2): ropbot can generate code reuse payload for multiple architectures: x64, MIPS, AArch64, ARM, and RISC-V. This is proven by experiment E3, whose results are reported in Table IV in the table.
TABLE VII: Finer-grained ablation breakdown. Graph search and chain generation is fast. Graph optimization is slower on AArch64 because of the lack of gadgets, which leads to more iterations to optimize the graph.
| Config | Task | Gadget Finding Time | Opt-Time | Graph Search Time | Chain-Time | Success | Total |
|---|---|---|---|---|---|---|---|
| Base | execve | 27.8s | - | 0.004s | 1.1s | 193 | 272 |
| Base+Graph_Opt | execve | 27.8s | 2.2s | 0.006s | 1.3s | 215 | 272 |
| exrop | execve | 33.6s | - | - | 240.5s | 90 | 272 |
| Crackers | execve | 83.6s | - | - | 695.9s | 0 | 272 |
| SGC | execve | 763.1s | - | - | 1527.8s | 27 | 272 |
| Base | facefeed | 11.0s | - | 0.002s | 0.1s | 319 | 1022 |
| Base+Graph_Opt | facefeed | 11.5s | 1.7s | 0.003s | 0.2s | 391 | 1022 |
| Crackers | facefeed | 24.4s | - | - | 237.7s | 353 | 1022 |
| exrop | facefeed | 9.8s | - | - | 72.8s | 358 | 1022 |
| Full-got_gadgets | facefeed | 11.3s | 3.4s | 0.007s | 0.3s | 574 | 1022 |
| Full-ret2csu_gadgets | facefeed | 11.5s | 6.5s | 0.013s | 0.3s | 570 | 1022 |
| Full-multi_bb_gadgets | facefeed | 11.5s | 3.3s | 0.009s | 0.3s | 570 | 1022 |
| Full-jmp_mem_gadgets | facefeed | 11.5s | 2.2s | 0.005s | 0.2s | 457 | 1022 |
| Full | facefeed | 11.5s | 6.9s | 0.003s | 0.4s | 635 | 1022 |
| AArch64_Full | facefeed | 32.3s | 58.5s | 0.021s | 0.5s | 56 | 172 |
| AArch64_Full+cond_br_gadgets | facefeed | 237.6s | 101.4s | 0.020s | 0.6s | 55 | 172 |
TABLE VIII: Gadget normalization with graph optimization can slightly reduce the length of generated chains. The use of gadgets with conditional branches increases run time significantly.
| Config | Task | Chain Runtime Len(byte) |
|
|---|---|---|---|
| Base | facefeed | 81.0 | 11.6s |
| Base+Graph_Opt | facefeed | 78.9 | 13.3s |
| Base+Graph_Opt+cond_br_gadgets | facefeed | 79.0 | 36.5s |
| Base | execve | 134.0 | 29.0s |
| Base+Graph_Opt | execve | 128.6 | 30.5s |
| Base+Graph_Opt+cond_br_gadgets | execve | 129.5 | 117.4s |
E. Evaluation
1) Experiment (E1): [3 human-minutes + 6 compute-hours] This experiment aims to evaluate ropbot's capability in generaing the 0xfacefeed(0xdeadbeef, 0x40, 0x7b) chain for the x64_dataset binaries (1022 binaries). The performance varies according to the compute power of the running machine. On a machine with 40 cores and 256GB RAM, it should succeed for 635 ± 3 binaries.
[How to] To run the experiment, you can do ./run
[Results] Once the docker containers prints Experiment finished in the log, you can extract the results from the container by docker cp <container_id>:/experiment/output.jsonl <dst_path>. Running python results/pretty_print.py <dst_path> will print out the summarized results, which match what we report in the paper.
2) Experiment (E2): [3 human-minutes + 3.5 computehours] This experiment aims to evaluate ropbot's capability in generaing the execve("/bin/sh", 0, 0) chain for the syscall_dataset binaries (272 x64 binaries with syscall instructions). The performance varies according to the compute power of the running machine. On a machine with 40 cores and 256GB RAM, it should succeed for 244±2 binaries.
To run the experiment, you can do ./run
3) Experiment (E3): [10 human-minutes + 8 compute-hours] This experiment aims to evaluate ropbot's capability in generating the 0xfacefeed(0xdeadbeef, 0x40, 0x7b) chain for different architectures. Since our original experiment takes more than 24 hours, we propose a scaled-down version of the experiment: only evaluate it on AArch64 and ARM besides x64 (evaluated in E1). We believe this scaled-down experiment is enough to show that ropbot works on different architectures.
To run the experiment, you can do ./run
F. Customization
We welcome artifact evaluators to evaluate the results of other tools and other architectures as well. All available commands are listed in task_list.txt.